Your shopping cart is currently empty.

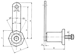
Universal Tension Arm
130 mm radius 108 mm offset
100 mm (B) Total Depth
115 mm (H) Arm Height
100 mm (A) Distance Between Centers
30 mm (C) Width of Arm
56 mm (E) Across Flats
59 mm (F) Across Points
10.5 mm (D) Arm Hole Diameter
6 mm (G) Arm Thickness
M10 (G) Mounting Bolt Size
0-320 N Torque